- Trainingsarticles
- Alles zur Luftklappeneinstellung und zum Drag Factor
- Tipps für Ihr erstes Rennen
- Bequemes und angenehmes Training auf dem RowErg
- Das Beste aus dem PM5 herausholen
- So finden Sie ihr 2000m Renntempo
- Beim Rudern beanspruchte Muskeln
- So rudern, skifahren oder radeln Sie intensiver
- Multi-Erg Workouts
- Verwendung von Concept2 Ergs zur Verletzungsrehabilitation
- Beim Skilanglauf beanspruchte Muskeln
- BikeErg richtig einstellen
- Widerstand und Intensität beim BikeErg steuern
BikeErg richtig einstellen
Das BikeErg bietet verschiedene Einstellmöglichkeiten für Sattel und Lenker, sodass Sie die Position finden können, die für Sie am bequemsten und effektivsten ist. Hier finden Sie Anleitungen und Empfehlungen für den Einstieg.

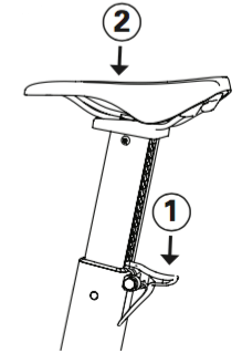
So stellen Sie den Sattel ein
- So senken Sie den Sattel ab: Lösen Sie die Rasterung, indem Sie den Hebel nach unten drücken (1, rechts). Drücken Sie den Sattel in die gewünschte Position (2, rechts). Lassen Sie den Hebel los, um die Position zu fixieren.
- So heben Sie den Sattel an: Ziehen Sie den Sattel auf die gewünschte Höhe nach oben. Vergewissern Sie sich vor der Benutzung, dass die Rasterung eingerastet ist.
- Die Passform der Sattelstütze im hinteren Standbein wurde werkseitig so eingestellt, dass eine einfache Verstellung möglich ist.
- Die Rahmengeometrie wurde so konzipiert, dass sich der Sattel beim Anheben gleichzeitig nach hinten bewegt und so das korrekte Verhältnis zu den Pedalen beibehalten wird. Für den allgemeinen Gebrauch ist in der Regel keine weitere Einstellung der Sattelposition auf der Sattelstütze notwendig. Zur Feinabstimmung der horizontalen Position und des Sattelwinkels können mithilfe eines 1/2-Zoll- oder 13-mm-Schlüssels (nicht im Lieferumfang enthalten) Anpassungen vorgenommen werden.
Empfehlungen zur Sattelposition
- Während des Fahrens: Wenn der Fußballen auf dem Pedal steht, sollte Ihr Bein in der maximalen Streckung leicht gebeugt bleiben.
- Während Sie auf dem Sattel sitzen: Ermitteln Sie eine angenehme Sitzhöhe, indem Sie die Ferse auf das untere Pedal stellen und das Bein dabei strecken. Wenn Sie sich strecken müssen, um das Pedal zu erreichen, senken Sie den Sattel. Wenn Sie das Bein nicht strecken können, heben Sie den Sattel an.
So stellen Sie den Lenker ein
- So senken Sie den Lenker ab: Lösen Sie den Verstellknopf (1, rechts). Drücken Sie den Rasterhebel nach unten (2, rechts), um die Rasterung zu lösen. Drücken Sie den Lenker in die gewünschte Position nach unten. Lassen Sie den Hebel los, um die Position zu fixieren, und ziehen Sie den Verstellknopf wieder fest.
- So heben Sie den Lenker an: Lösen Sie den Verstellknopf (1, rechts) und ziehen Sie den Lenker auf die gewünschte Höhe nach oben. Vergewissern Sie sich, dass die Rasterung eingerastet ist, und ziehen Sie den Verstellknopf wieder fest.
- So stellen Sie die Lenkerreichweite ein: Lösen Sie den Verstellknopf (3, rechts) und schieben Sie den Lenker nach vorne oder hinten, wie gewünscht. Ziehen Sie den Verstellknopf anschließend wieder fest.
Individualisierungen
Die Verbindungsstellen zwischen dem BikeErg und den Pedalen, dem Sattel sowie dem Lenker entsprechen dem Standard der meisten Fahrradkomponenten, sodass bei Bedarf eigene Komponenten verwendet werden können. Achten Sie beim Austausch darauf, nur Teile zu verwenden, die für Trainingsräder empfohlen werden.
Warnhinweis: Pedale und Lenker von Drittanbietern sind häufig nicht für die bei stationären Trainingsrädern wirkenden Kräfte geeignet.
Hinweis: Die Garantie deckt die Verwendung des BikeErg mit Teilen oder Zubehör von Drittanbietern nicht ab.